You might want to visit our global site:
Global
Other markets
Sulje
Valikko
Sulje
Miksi Swegon?
Referenssit
Oppaat
Tuotteet ja Palvelut
Tukipalvelut
Blogit
Ratkaisut kuluttajille
Tietoja Swegonista
Päävalikko
Oppaat
Siirry sivulle
Rakennustyypit
Oppaat
Rakennustyypit
Siirry sivulle
Toimisto - ilmakiertoinen järjestelmä
Toimisto - vesikiertoinen järjestelmä
Liiketilat
Hotellit
Asunnot
Datakeskukset
Teollisuustilat
Tekniikat
Oppaat
Tekniikat
Siirry sivulle
Lämmön talteenotto ilmanvaihdossa
Vapaajäähdytys vai kompressorikylmä
Ilmanvaihtoperiaatteet
Ilma vai vesi
Mollier-diagrammi
Päävalikko
Tuotteet ja Palvelut
Siirry sivulle
Ilmanvaihto
Päävalikko
Ilmanvaihto
Siirry sivulle
Ilmanvaihtokoneet/ilmankäsittelylaitteet
Liesikuvut
Kanavatuotteet
Päävalikko
Kanavatuotteet
Siirry sivulle
Ilmavirtasäätimet ja säätöpellit
Äänenvaimentimet
Paloturvallisuus
Ilmanvaihtokatokset
Huippuimurit
Ulkosäleiköt
Suodatinkotelot
Huonelaitteet
Päävalikko
Huonelaitteet
Siirry sivulle
Ilmanjako- ja huonelaitteet
Vesikiertoiset ilmastointijärjestelmät
Jäähdytys & lämmitys
Päävalikko
Jäähdytys & lämmitys
Siirry sivulle
Lämmitys & Jäähdytys
Vapaajäähdytys
IT-jäähdytys
Vesikattoasenteiset Ilmastointikojeikot
Lisävarusteet jäähdytysjärjestelmiin
Ilmastoratkaisut
Päävalikko
Ilmastoratkaisut
Siirry sivulle
Tarveohjatut huonejärjestelmät
Palvelut & yhdistettävyys
Päävalikko
Palvelut & yhdistettävyys
Siirry sivulle
Digitaaliset palvelut
Tekniset palvelut
Päävalikko
Tukipalvelut
Siirry sivulle
Dokumentit
Tukipalvelut
Dokumentit
Siirry sivulle
Etsi asiakirja
Asiakirja-arkisto
Sertifikaatti
Hinnastot
Swegon Service
Tukipalvelut
Swegon Service
Siirry sivulle
Huoltopyynnöt ja kysymykset
Huoltoliikkeet - CASA-asuntoilmanvaihto
Huoltoliikkeet - vedenjäähdyttimet ja lämpöpumput
Huoltoliikkeet - ilmankäsittelykoneet
Swegon Service Elinkaaripalvelut
Ohjelmat
Tukipalvelut
Ohjelmat
Siirry sivulle
Tuotevalintaohjelma koneille ja huippuimureille
Tuotevalintaohjelma sisäilmastotuotteille
Simulointityökalut sisäilmasto
Ohjelmisto yhdistetyille tuotteille
Ohjelmistot säätöä ja konfigurointia varten
CAD-tuki
Toimintakaaviot
Takuu
Päävalikko
Blogit
Siirry sivulle
Kaikki sisäilmasta
Parempi ilma joka säällä
Päävalikko
Ratkaisut kuluttajille
Siirry sivulle
Valtuutetut Ilmateknikot
Päävalikko
Tietoja Swegonista
Siirry sivulle
Our values, purpose and promise
Vastuullisuus
Laatu ja ympäristö
Yritysjohto
Avoimet työpaikat
Hae tuotteita
Hae dokumentti
Urat
Suomi
Yhteystiedot
Oppaat
Rakennustyypit
Toimisto - ilmakiertoinen järjestelmä
Toimisto - vesikiertoinen järjestelmä
Liiketilat
Hotellit
Asunnot
Datakeskukset
Teollisuustilat
Tekniikat
Lämmön talteenotto ilmanvaihdossa
Vapaajäähdytys vai kompressorikylmä
Ilmanvaihtoperiaatteet
Ilma vai vesi
Mollier-diagrammi
Sulje
Tuotteet ja Palvelut
Ilmanvaihto
Ilmanvaihtokoneet/ilmankäsittelylaitteet
Liesikuvut
Kanavatuotteet
Ilmavirtasäätimet ja säätöpellit
Äänenvaimentimet
Paloturvallisuus
Ilmanvaihtokatokset
Huippuimurit
Ulkosäleiköt
Suodatinkotelot
Huonelaitteet
Ilmanjako- ja huonelaitteet
Vesikiertoiset ilmastointijärjestelmät
Jäähdytys & lämmitys
Lämmitys & Jäähdytys
Vapaajäähdytys
IT-jäähdytys
Vesikattoasenteiset Ilmastointikojeikot
Lisävarusteet jäähdytysjärjestelmiin
Ilmastoratkaisut
Tarveohjatut huonejärjestelmät
Palvelut & yhdistettävyys
Digitaaliset palvelut
Tekniset palvelut
Sulje
Tukipalvelut
Dokumentit
Etsi asiakirja
Asiakirja-arkisto
Sertifikaatti
Hinnastot
Swegon Service
Huoltopyynnöt ja kysymykset
Huoltoliikkeet - CASA-asuntoilmanvaihto
Huoltoliikkeet - vedenjäähdyttimet ja lämpöpumput
Huoltoliikkeet - ilmankäsittelykoneet
Swegon Service Elinkaaripalvelut
Ohjelmat
Tuotevalintaohjelma koneille ja huippuimureille
Tuotevalintaohjelma sisäilmastotuotteille
Simulointityökalut sisäilmasto
Ohjelmisto yhdistetyille tuotteille
Ohjelmistot säätöä ja konfigurointia varten
CAD-tuki
Toimintakaaviot
Takuu
Sulje
Blogit
Kaikki sisäilmasta
Parempi ilma joka säällä
Sulje
Ratkaisut kuluttajille
Valtuutetut Ilmateknikot
Sulje
Tietoja Swegonista
Our values, purpose and promise
Vastuullisuus
Laatu ja ympäristö
Yritysjohto
Avoimet työpaikat
Sulje
...
Tuotteet
Ilmanvaihto
Ilmanvaihtokoneet/ilmankäsittelylaitteet
CASA
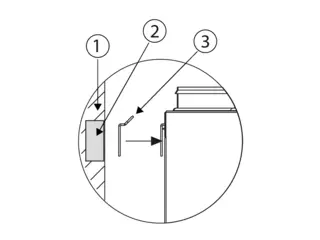
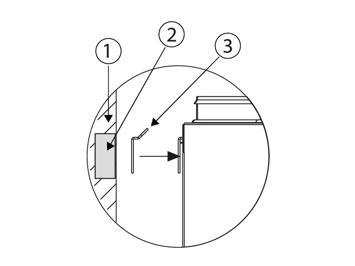
Wall Mounting Bracket
Wall Mounting Bracket
Seinäasennusteline Swegon CASA -ilmanvaihtokoneille
Wall mounting bracket WRWMB for R3 / R5 /W3 / W4/W5
Näytä lisää
Dokumentit
Valitse alue
Tai käy kansainvälisillä sivuillamme
Belgium - French
Belgium - Dutch
Denmark
Finland
France
Italy
Germany
Norway
Poland
Spain
Sweden
Switzerland - German
Switzerland - French
Switzerland - Italian
United Kingdom
United States
Canada